更新时间:2025-09-18 06:28:24 浏览: 次
9月13日,据蓝鲸新闻报道称,自2026年新的销售年度起,娃哈哈将逐步停用延用了38年的品牌名称“娃哈哈”,全面启用新品牌——“娃小宗”。
此举被外界视为宗馥莉自正式执掌娃哈哈以来,最大胆、也最具颠覆性的一次战略转向。
历经38年发展,“娃哈哈”不仅代表着饮用水行业价值900亿的商业巨头,更承载了几代人的集体记忆与情感关联。
此外,品牌切换也绝非简单的名称更替——它意味着重新构建消费者认知与经销商信任体系,而这两项任务均难以在短期内完成。
据蓝鲸新闻所披露的杭州娃哈哈宏辉食品饮料有限公司内部文件显示:自娃哈哈集团创始人离世后,公司一直努力推进解决各项历史相关遗留问题。但因复杂的历史相关问题不能在近期得到有效的解决,导致公司经营始终暴露在相关法律风险之下。
为维护“娃哈哈”品牌使用的合规性,公司决定从2026年新的销售年度起,更换使用新品牌“娃小宗”。
该文件明确表述:“在现行股权架构下,‘娃哈哈’商标的使用,须获得娃哈哈集团全体股东的一致同意,否则任何一方均无权使用。”
从娃哈哈集团的股权构成来看:杭州上城区文商旅投资控股集团有限公司持股46%,宗馥莉持股29.4%,职工持股协会持有24.6%。
或许正是在这一客观制度约束及集团复杂治理背景之下,宗馥莉作出了更换品牌名称的战略决策。
业内另有分析指出,宗馥莉推动新品牌“娃小宗”的举措,是为了应对此前“娃哈哈”品牌商标转让受阻一事。
今年2月,国家知识产权局商标局官网显示,娃哈哈集团正对“娃哈哈”系列商标进行转让。
当时,娃哈哈集团也通过官方微博发布声明称:387件“娃哈哈”系列商标正在国家知识产权局申请由娃哈哈集团转让至杭州娃哈哈食品有限公司。
但是,从2月至今的7个月时间中,因为各种遗留问题,娃哈哈商标始终都没能完成转让。
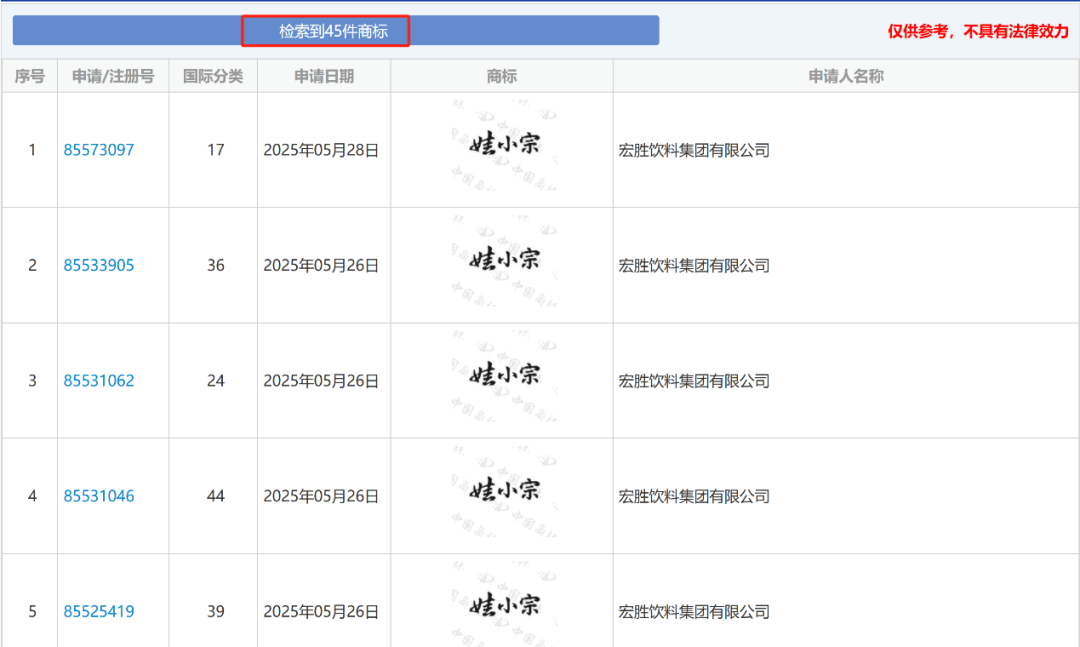
而“娃小宗”的商标正是由宏胜饮料集团有限公司在2025年2月至5月期间进行申请的。申请数量为45件,覆盖了多个国际分类类别。
目前,“娃小宗”在一些核心类别(如第32类啤酒饮料)的商标申请已进入初步审定公告阶段,公告阶段任何人都可以提出异议,而“娃小宗”的核心类别正处于异议程序阶段。
今年年初,娃哈哈在全国范围内陆续关停了多家工厂;近期,旗下多家子公司也陆续从“昌盛”系列更名为“宏胜”系列;如今,品牌名称的更换,更是宗馥莉大刀阔斧改革的重要体现。
与钟薛高联名推出的AD钙奶味“未成年雪糕”,娃哈哈精准捕捉年轻人“不想长大”的情绪,不仅复刻了AD钙奶的经典酸甜,更通过“今日未成年”的营销概念,鼓励消费者暂时放下成人世界的压力,享受片刻的轻松。
面对健康化的消费浪潮,娃哈哈顺势推出了无糖茶系列,涵盖茉莉花茶、正山小种、大红袍、青柑普洱等多种口味。2025年,更是推出了独立新品牌“娃小宗”及其首款无糖茶“凝香乌龙”,以亲民的价格和清爽的口感,迅速切入增长迅猛的无糖茶市场。
2025年春晚期间,娃哈哈不仅在大屏亮相,更在B站小屏端通过答题互动、弹幕口令(如“娃哈哈冰红茶大瓶畅爽”) 等方式与年轻观众实时互动,实现了7天蓝V账号涨粉率超70% 的效果。
为进一步吸引年轻消费群体,宗馥莉启用流量明星代言,由许光汉、王一博、龚俊等流量明星接替成为娃哈哈纯净水的代言人,借助明星的影响力和粉丝效应,提升品牌在年轻人群中的知名度和影响力。
早在今年5月12日,娃哈哈集团官方公众号“娃哈哈家园”(现更名为“哈哈号角”)发布的文章中,就曾推出过“娃小宗”首款无糖茶新品。
对于消费者而言,“娃哈哈”是AD钙奶里的童年记忆、是营养快线的青春符号和“喝了娃哈哈,吃饭就是香”的国民口头禅。
元气森林、农夫山泉、东鹏饮料群雄环伺,渠道成本高企,消费者注意力稀缺。
“娃小宗”能否顺利嫁接“娃哈哈”的品牌影响力?又能否成功承接“娃哈哈”价值900亿的品牌价值?
在竞争如此激烈的快消赛道里,我对自己的要求没变——不急于证明自己,而是脚踏实地把事情做好。




铁观音礼盒